• Volume 44,Issue 1,2025 Table of Contents
    Select All
    Display Type: |
    • >Crop genetic improvement and cultivation
    • Meta-analysis of effects of drought on yield and differences in dry matter allocation of hybrid rice and inbred rice

      2025, 44(1):1-14. DOI: 10.13300/j.cnki.hnlkxb.2025.01.001

      Abstract (213) HTML (57) PDF 2.64 M (123) Comment (0) Favorites

      Abstract:Literature on drought stress and rice yield in China from 1990 to 2020 were integrated through Meta-analysis and the effects of rice varieties, the degree of drought stress, and the period of stress on yield were quantified to study the effects of drought on the allocation of dry matter and the yield of hybrid rice and inbred rice. The hybrid indica rice varieties including Yangliangyou 6 and Shanyou 63, the conventional indica rice varieties including Huanghuazhan and Yangdao 6 were used to conduct a pot experiment in Wuhan, Hubei Province, to further investigate the effects of drought (soil water potential -30 kPa±5 kPa) on the physiological indexes of leaves and roots, the accumulation and distribution of dry matter at the stages of heading and flowering in rice. The results of Meta-analysis showed that the average decrease in rice yield under drought was 24.0%. Compared with other stages of growth, the yield of rice decreased the most at the stage of vegetative growth under drought stress, reaching 24.4%. The significant difference in the decrease of yield between indica hybrid rice and indica inbred rice under drought stress was 19.3% and 13.8%, respectively, indicating that the yield of indica inbred rice is relatively stable under drought stress. The results of the pot experiment in Wuhan showed that the water potential and the content of chlorophyll in rice leaves, the injury velocity in roots, the absorption area of root, and the active absorption area all significantly decreased under drought stress. Among them, the injury velocity in roots decreased the most, with a decrease of 94.29% and 89.03% for hybrid rice and inbred l rice, respectively, while the vigor of root significantly increased. Drought significantly reduced the dry weight of all parts of rice, among which the content of soluble sugar and non-structural carbohydrate (NSC) in leaves of hybrid rice decreased significantly by 37.73% and 25.35%, respectively. The content of soluble sugar and NSC in leaves of inbred rice increased significantly by 21.89% and 10.49%, respectively. The physiological indexes in leaves and roots of inbred rice under drought had smaller variation compared with those of hybrid rice, and its leaves, spikes, and roots accumulated more content of NSC, and its stems had higher content of photosynthetic carbon. The proportion of the content of NSC in the photosynthetic carbon accumulated in the leaves, spikes, and roots of inbred rice at the stages of heading and flowering was higher. It is indicated that the inbred rice may maintain stable yield under drought by accumulating more NSC to ensure stable metabolism of energy in all organs.

      • 0+1
      • 1+1
      • 2+1
      • 3+1
      • 4+1
      • 5+1
      • 6+1
      • 7+1
      • 8+1
      • 9+1
      • 10+1
      • 11+1
    • Compositions of HMW-GS in 121 wheat landraces in China

      2025, 44(1):15-23. DOI: 10.13300/j.cnki.hnlkxb.2025.01.002

      Abstract (121) HTML (20) PDF 1.03 M (107) Comment (0) Favorites

      Abstract:The compositions of HMW-GS in 121 wheat landraces in China were identified and analyzed with SDS-PAGE to mine high-molecular-weight glutenin subunits (HMW-GS) combinations with application value and screen wheat landraces with high-quality. The results showed that 3, 9 and 6 types of allelic variations were detected in the materials tested at the Glu-A1Glu-B1 and Glu-D1 locus, respectively. Among them, null, 5+10, and 2+12 had the highest frequency at the Glu-A1Glu-B1 and Glu-D1 locus, with the frequency of 78.51%, 76.86%, and 76.03%, respectively. There were 30 combinations of subunit formed by different types of allelic variation, among which the combination type of null/7+8/2+12 subunit had the highest proportion, accounting for 55.37%. However, the quality score of this combination type of subunits was relatively low, with 6 points only. The combination types of subunits including 1/7+8/5+10, 1/7+9/5+12, 1/7+9/5+10, 2 */7+8/5+10, and 2 */7+9/5+12 had the highest score and became high-quality combinations of subunits. Wheat landraces with these high-quality combinations of subunits including Jiangmai, Qianjiaomai and Bianguangtoukemai, etc. ,can be used as elite genetic resources for improving the quality of modern wheat.

      • 0+1
      • 1+1
    • Effects of treating seeds compositely with wood vinegar and biochar on germination,growth,yield and quality of rapeseed

      2025, 44(1):24-34. DOI: 10.13300/j.cnki.hnlkxb.2025.01.003

      Abstract (129) HTML (88) PDF 871.99 K (139) Comment (0) Favorites

      Abstract:Seeds of Huayouza 50 rapeseed were used to conduct laboratory screening and field experiments to evaluate the effects of wood vinegar priming (PV) and rice straw biochar (BC) coating on the germination and seedling,the growth of seedling,the yield and quality of rapeseed to improve the rate of seedling and vigor seedling in rapeseed with direct-seeding. 7 treatments of wood vinegar priming including 0 (pure distilled water,HP),1∶200 (PV200),1∶00 (PV400),1∶600 (PV600),1∶800 (PV800),1∶1 000 (PV1000),and 1∶1 200 (PV1200) and 5 treatments of rice straw biochar (BC) including 20%(BC20),30%(BC30),40%(BC40),50%(BC50)and 60%(BC60,m/m)were set up. The results showed that the optimal ratio for promoting the germination and the growth of seedling was triggered by diluting the wood vinegar solution 1 000 times (PV1000) and using a seed coating agent with BC30 for granulation. The treatment of PV1000 and PV1000+BC30 significantly increased the rate of seedling in rapeseed by 20.2% and 22.1%,respectively. The biomass of PV,BC,and PV+BC treatment increased by 13.7%,21.6%,and 35.3% respectively compared to that of the control. PV,BC,and PV+BC treatment increased yield of rapeseed by 14.4%,13.6%,and 17.0%,respectively. PV+BC treatment significantly increased the content of oleic acid and reduced the content of glucosinolate. It is indicated that PV and PV+BC are effective methods for treating seeds of rapeseed.

      • 0+1
      • 1+1
      • 2+1
    • >Horticulture·Forestry
    • Effects of magnesium fertilizer containing trace-elements on yield, quality and nutrients of Gannan navel orange

      2025, 44(1):35-42. DOI: 10.13300/j.cnki.hnlkxb.2025.01.004

      Abstract (181) HTML (75) PDF 886.94 K (108) Comment (0) Favorites

      Abstract:Gannan navel orange was used to study the effects of self-developed magnesium fertilizer containing trace-elements (MG1), calcium-magnesium fertilizer containing trace-elements (MG2), instant magnesium fertilizer in soil spraying (MG3S)and foliar spraying (MG3F)on quality and nutrients of fruit to solve the declines in yield and quality of fruit in Gannan navel orange caused by exchangeable magnesium and trace-elements in the soil of citrus orchards in China. The results showed that the application of four types of magnesium fertilizers significantly increased the yield of fruit, with an increase of 28.82% and 24.76% in MG1 and MG2, and 18.78% and 16.01% in MG3S and MG3F, respectively. The application of magnesium fertilizer significantly increased the quality of single fruit, the content of soluble solids and vitamin C, the ratio of solids to acid, and improved the quality of fruit. Among them, the comprehensive score in MG2 was the highest, indicating the quality of fruit is the best. Magnesium fertilizer containing trace-elements significantly increased the accumulation of nutrients in fruits. The calcium carrying capacity and the magnesium carrying capacity of MG1 and MG2 increased by 32.12% and 53.50%, 25.28% and 29.90%, respectively. The accumulation of nutrients including nitrogen, boron, zinc, and molybdenum in fruits increased significantly as well. It is indicated that the application of magnesium fertilizer has a significant effect on increasing the yield and improving the quality of Gannan navel oranges. Magnesium fertilizer and calcium magnesium fertilizer containing trace-elements can significantly improve the content of nutrients including calcium, magnesium, boron, zinc, and molybdenum in the tree, with the best effect on increasing the yield and improving the quality. The application of instant magnesium fertilizer in soil spraying and foliar spraying have similar effects.

      • 0+1
      • 1+1
    • Establishment of genetic transformation system for leaves of ‘Jingzao 39’(Ziziphus jujuba Mill.)

      2025, 44(1):43-49. DOI: 10.13300/j.cnki.hnlkxb.2025.01.005

      Abstract (161) HTML (93) PDF 1.62 M (104) Comment (0) Favorites

      Abstract:Leaves of ‘Jingzao 39’were used as explants to establish an efficient genetic transformation system for ‘Jingzao 39’. The effects of the selection pressure of kanamycin (Kan), the inhibitory concentration of cefotaxime (Cef) and timentin (Tim), pre-culture time, the density of bacterial suspension, infection duration, the concentration and co-culture time of acetylyringone (AS) on the transformation rate of leaves of ‘Jingzao 39’ were studied. The results showed that the optimal genetic transformation conditions for the leaves of ‘Jingzao 39’ were as follows: 5 mg/L Kan, 50 mg/L Cef, 250 mg/L Tim, pre-culture for 4 days, Agrobacterium tumefaciens concentration OD600 nm=0.6, infection duration of 20 minutes, 200 μmol/L AS, co-culture for 4 days. The results of fluorescence detection and PCR analyses confirmed that the exogenous target gene was successfully integrated into the genome of ‘Jingzao 39’, achieving the Agrobacterium mediated genetic transformation of leaves of ‘Jingzao 39’. It will provide an important support for analyzing the function of genes and molecular breeding in jujube.

      • 0+1
      • 1+1
      • 2+1
      • 3+1
      • 4+1
      • 5+1
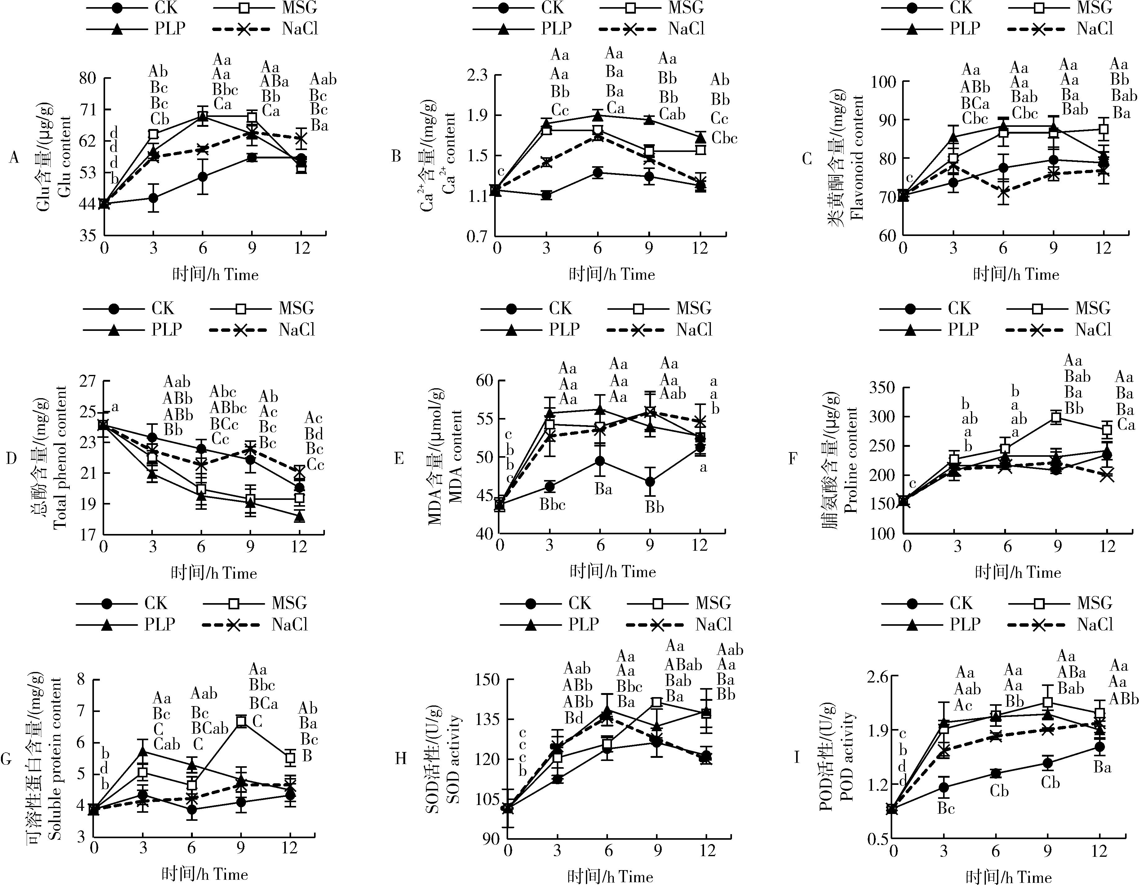
    • Effects of abiotic stress on accumulation of γ-aminobutyric acid and physiological and biochemical characteristics in leaves of Cerasus humilis

      2025, 44(1):50-61. DOI: 10.13300/j.cnki.hnlkxb.2025.01.006

      Abstract (91) HTML (424) PDF 2.81 M (94) Comment (0) Favorites

      Abstract:Fresh leaves of Cerasus humilis ‘Jinou 3’ were used to study the regulatory strategies and underlying mechanisms of the accumulation of γ-aminobutyric acid (GABA) in leaves of C. humilis under abiotic stress. Using soaking, low temperature, and vacuum anaerobic treatment, The accumulation of GABA, the activity of the key enzymes for GABA, and the related physiological and biochemical indexes in leaves under the treatments including soaking, low temperature, and vacuum anaerobic method were measured. The results showed that soaking with monosodium glutamate (MSG), pyridoxal phosphate (PLP) and NaCl, and vacuum anaerobic method had significant effects on the accumulation of GABA, the activity of the key enzymes for GABA, and the related physiological and biochemical indexes in leaves of C. humilis. The GABA accumulation effect of soaking with MSG for 9 h on the accumulation of GABA in leaves of C. humilis was the best, with 2.3 times of that of untreated leaves (CK). The content of GABA in leaves of C. humilis after vacuum for 15 h and -20 ℃ for 6 h was 1.99 and 1.97 times higher than that of untreated leaves (CK). The activity of glutamic acid decarboxylase (GAD), diamine oxidase (DAO), polyamine oxidase (PAO), SOD and POD, and the content of Glu, Ca2+, flavonoids, MDA, proline and soluble protein all significantly increased, while the activity of GABA-T significantly decreased. It is indicated that abiotic stress enhances the content of proline as osmotic regulator and the activity of antioxidant enzymes, accumulates the content of Ca2+, increases the activity of GAD, catalyzes the synthesis of GABA by Glu, reduces the activity of GABA-T, and decreases GABA degradation in leaves of C. humilis to achieve the enrichment of GABA.

      • 0+1
      • 1+1
      • 2+1
      • 3+1
      • 4+1
      • 5+1
      • 6+1
      • 7+1
      • 8+1
      • 9+1
      • 10+1
      • 11+1
    • Detecting diseases and insect pests in litchi based on improved Faster R-CNN

      2025, 44(1):62-73. DOI: 10.13300/j.cnki.hnlkxb.2025.01.007

      Abstract (157) HTML (69) PDF 5.10 M (112) Comment (0) Favorites

      Abstract:A method of detecting diseases and insect pests in litchi based on improved Faster R-CNN was proposed to solve the problems of detecting small targets of diseases and pests in complex backgrounds of litchi orchards. Swin Transformer with superior capabilities of extracting feature was used to replace the original backbone network VGG16 based on Faster R-CNN. The feature pyramid network (FPN) was used to enhance capability of the multi-scale feature fusion in the Faster R-CNN model, thereby improving the precision of identifying each type of diseases and insect pests in litchi in a balanced manner. The ROI Align strategy was introduced to refine the precision of the candidate box localization in the model, leading to the enhancement in the performance of overall detection in the model. The result showed that the average accuracy of the improved model was 92.76%, 30.08 percentage points higher than that of the original Faster R-CNN detector. The precision of detecting images of five types of diseases and insect pests including algal leaf spot, anthracnose, sooty mold, felt disease, and leaf gall in litchi was 93.05%, 94.81%, 96.57%, 87.03%, and 92.34%, respectively. The average precision was improved by 20.50, 5.70, 13.08, and 3.26 percentage points compared with that of SSD512, RetinaNet, EfficientDet-d0, and YOLOv5s model, respectively. It is indicated that the improved Faster R-CNN model can accurately detect diseases and insect pests in litchi with complex backgrounds, and has high value of application. It will provide a reference for studying the rapid and accurate identification of diseases and insect pests in crops.

      • 0+1
      • 1+1
      • 2+1
      • 3+1
      • 4+1
      • 5+1
      • 6+1
      • 7+1
      • 8+1
      • 9+1
    • Comparing volatile compounds in 11 plants with aromatic leaf and simulating aroma of rose essential oil

      2025, 44(1):74-84. DOI: 10.13300/j.cnki.hnlkxb.2025.01.008

      Abstract (133) HTML (701) PDF 1.07 M (93) Comment (0) Favorites

      Abstract:The headspace solid-phase microextraction combined with gas chromatography-mass spectrometry (HS-SPME-GC-MS) was used to qualitatively and quantitatively analyze the volatile compounds in the leaves of 11 plants with aromatic leaf selected from 9 families including Rosaceae, Poaceae, Lamiaceae, Theaceae, Rutaceae and other families to study the possibility of obtaining the aroma of Damascus rose essential oil with mixed simulation of plants with aromatic leaf. The results showed that a total of 78 major volatile compounds including 39 terpenes, 23 fatty acid derivatives, and 16 benzenoid/phenylpropanoids were detected in the 11 tested plants. MATLAB software was used to analyze and simulate the aroma of rose essential oil to determine the mixed mass ratio of plants with aromatic leaf. The results of mixing the leaves of Rosemary, Echa No.10, Eucalyptus citriodora and Pelargonium graveolens in a mass ratio of 31∶7∶11∶1 showed that terpenoids were the main volatile compounds in plants with aromatic leaf, followed by fatty acid derivatives and benzenoid/phenylpropanoids. The group with mixed simulation of plants with aromatic leaf ultimately obtained a mixed aroma similar to that of rose essential oil, mainly composed of citronellol, geraniol, linalool, and caryophyllene.

      • 0+1
      • 1+1
      • 2+1
    • Characteristics of the endophytic microbial community in root system of chives shaping by intercropping allelopathic crops

      2025, 44(1):85-93. DOI: 10.13300/j.cnki.hnlkxb.2025.01.009

      Abstract (102) HTML (57) PDF 1.66 M (89) Comment (0) Favorites

      Abstract:Treatments including C (chives monoculture), F (intercropping chives and pea), and H (intercropping chives and tomato) were set to analyze the mechanism of intercropping allelopathic crops on the growth and resistance of chives. The effects of intercropping different crops with chives on the composition of endophytic microbial communities in the root system of chives were compared. The results showed that unclassified_f_Xanthomonadaceae, Dokdonella, Flavobacterium, unclassified_f_Alcaligenaceae and Devosia were the top 5 dominant endophytic bacterial genera in the root system of chives under the intercropping allelopathic crops. Acidovorax bacteria were the allelopathic combination. There was the dominant endophytic bacterial genus unique to the root system of chives under F (intercropping chives and pea). Fusarium, Colletotrichum, Plectosphaerella, unclassified_o_Helotiales, and Neocosmospora fungi were the top 5 dominant endophytic fungi genera in the root system of chives under the intercropping allelopathic crops. Gibberella and Acrocalymma fungi were the dominant endophytic fungi unique to the root system of chives under H (intercropping chives and tomato). Dactylonectria and Myrothecium fungi were the dominant endophytic fungi unique to the root system of chives under F (intercropping chives and pea). It is indicated that intercropping chives with different crops shaped the composition of endophytic microbial communities in the root system of chives. In the intercropping system of chives, an endogenous microbial community with the functions of promoting crop growth and enhancing crop resistance is formed in the root system of chives. In the intercropping system of chives, an endophytic microbial community dominated by pathogenic microorganisms is formed in the root system of chives, which is one of the important mechanisms for intercropping allelopathic crops with chives as well.

      • 0+1
      • 1+1
      • 2+1
      • 3+1
    • >Resources and environment
    • Representative revision of soil samples based on estimation of kernel density

      2025, 44(1):94-104. DOI: 10.13300/j.cnki.hnlkxb.2025.01.010

      Abstract (78) HTML (34) PDF 5.16 M (94) Comment (0) Favorites

      Abstract:How to obtain more reliable soil-environment knowledge from existing historical samples has become an important scientific issue in digital soil mapping. This article used the method of revising the representativeness of samples to obtain higher accuracy of knowledge. Three different algorithms and the spatial similarity relationship between the covariates of the sample space and the overall spatial environment were used to identify the optimal weights for each sampling point of soil based on the estimation of kernel density. The prediction mapping of the content of organic matter on the surface of soil was used as an example to verify the scientific and validity of the method. The results showed that the revised method reduced RMSE and MAE of multiple linear regression mapping by 10.30% and 12.74%, confirming the feasibility and validity of this method. It will provide technical support for processing the data from sampling points of soil to make full use of historical data and improve the accuracy of mapping soil.

      • 0+1
      • 1+1
      • 2+1
      • 3+1
      • 4+1
      • 5+1
      • 6+1
      • 7+1
      • 8+1
    • On-site sampling and detection of trace polycyclic aromatic hydrocarbons in environmental water with highly efficient solid-phase microextraction tubes

      2025, 44(1):105-112. DOI: 10.13300/j.cnki.hnlkxb.2025.01.011

      Abstract (110) HTML (137) PDF 1.21 M (108) Comment (0) Favorites

      Abstract:A solid-phase microextraction (SPME) tube with large-capacity was developed and an on-site SPME sampling device was constructed to realize on-site sampling of trace pollutants in environmental water. Phthalates and polycyclic aromatic hydrocarbons (PAHs) were used to evaluate the performance of the SPME tubes and the on-site SPME device with gas chromatography-hydrogen flame ionization detector. The results showed that the extraction tube had stable performance and good reproducibility, and the extraction amount of a single extraction tube was 13-31 times that of a needle extraction head. The sampling device is flexible to be assembled and easy to be carried. The limit of detection of the on-site SPME method established with a sampling device of three extraction tubes was 0.01-0.04 ng/L for four types of PAHs in water. The sensitivity of the on-site SPME was 6-14 times higher than that of a single extraction tube and 36-53 times higher than that of a needle extraction head. The rate of recovery at different spiked levels was 92.0% to 115.7%, with a relative standard deviation of 1.5% to 13.1%. It is indicated that the constructed device has strong enrichment capacity, flexible assembly, and can be automated and used for efficient monitoring of different pollutants in environmental water.

      • 0+1
      • 1+1
      • 2+1
      • 3+1
      • 4+1
      • 5+1
      • 6+1
    • Spatial-temporal distribution and spectral estimation model of accumulation of potassium at mature stage of flue-cured tobacco

      2025, 44(1):113-119. DOI: 10.13300/j.cnki.hnlkxb.2025.01.012

      Abstract (143) HTML (68) PDF 874.49 K (100) Comment (0) Favorites

      Abstract:The flue-cured tobacco variety K326 was used to study the changes in the accumulation of potassium in interlayer of leaves at the mature stage of tobacco under different application dosage of nitrogen and its correlation with parameters of canopy spectrum to real-time and nondestructively monitor the accumulation of potassium in flue-cured tobacco in field. The results showed that the accumulation of potassium in the upper layer of tobacco plants was not correlated with spectral reflectance in most bands except for a few bands. The accumulation of potassium in the middle and lower layers of tobacco plants was significantly negatively correlated with the spectral reflectance in the visible light band, and significantly positively correlated with the near-infrared band. The optimal spectral parameters for estimating the accumulation of potassium in different layers of leaf were not completely consistent. The optimal spectral parameter for estimating the accumulation of potassium in the upper, middle, and upper middle layers of tobacco plants was the ratio vegetation index RVI(810,680), while the accumulation of potassium in the lower, middle lower, and upper middle lower layers of tobacco plants was most correlated with the red edge amplitude (DλRed). The established model for estimating the accumulation of potassium in the middle, lower, upper, middle, and lower layers of tobacco leaves was y=-0.002x2+0.159x-0.6531 with R2 of 0.903**y=8.8736x2-4.1032x+0.5164 with R2 of 0.618**y=0.0856x1.29 with R2 of 0.744**y=6.6558x2+0.5056x-0.3657 with R2 of 0.821**y=0.2803x0.5774 with R2 of 0.938**, and the model was tested to be stable. It is indicated that the established model for estimating the accumulation of potassium with parameters of spectrum can effectively invert the accumulation of potassium in the middle and lower layers and the whole plant of flue-cured tobacco.

      • 0+1
      • 1+1
      • 2+1
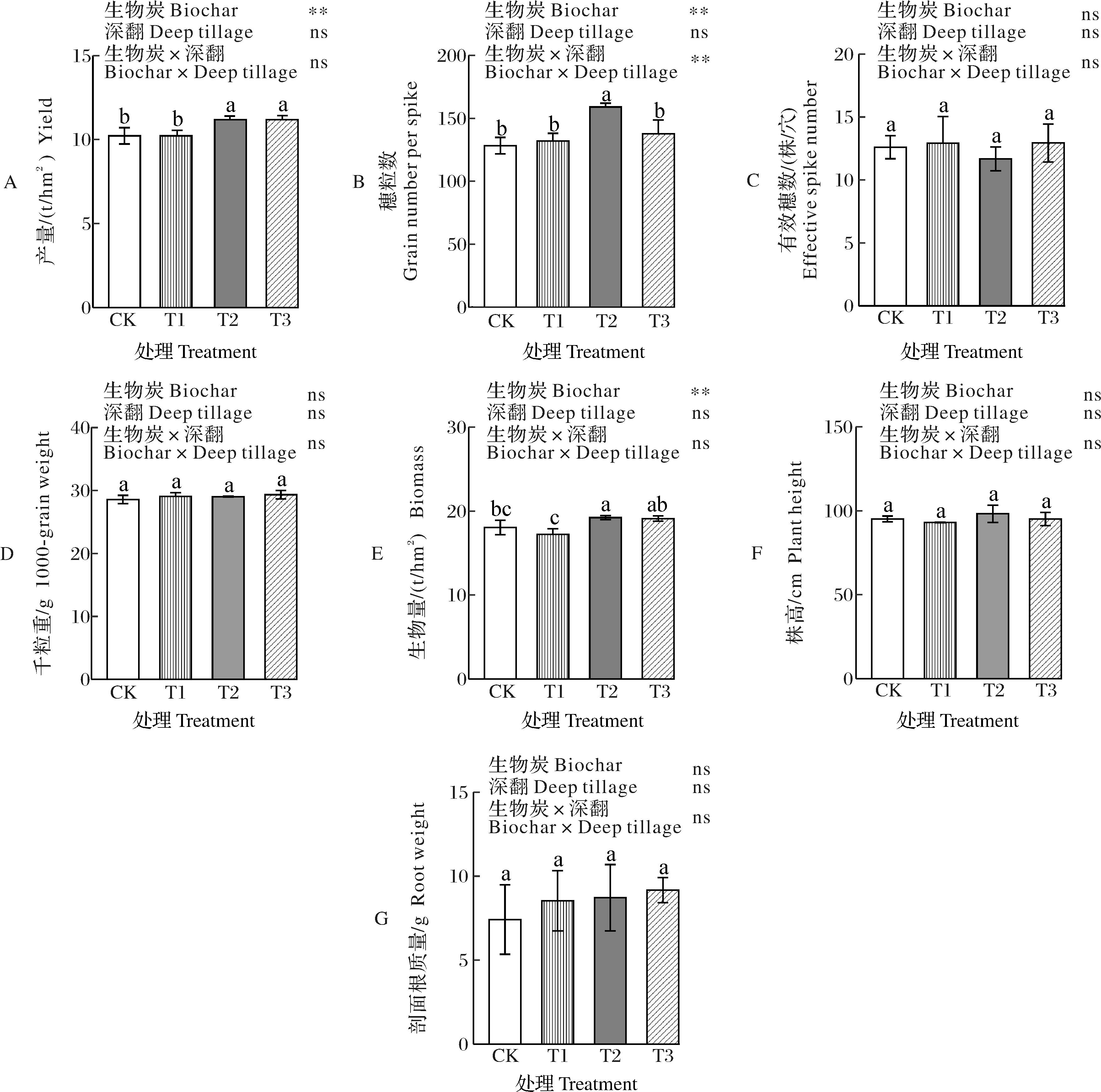
    • Effects of rice husk biochar combined with deep tillage on properties of soil in paddy fields and yield of rice

      2025, 44(1):120-127. DOI: 10.13300/j.cnki.hnlkxb.2025.01.013

      Abstract (164) HTML (141) PDF 1.70 M (105) Comment (0) Favorites

      Abstract:Treatments including the control (CK), deep tillage of 30 cm (T1), biochar 15 t/hm2 (T2), and biochar 15 t/hm2 + deep tillage of 30 cm (T3) were set up to conduct a field experiment to study the response of the properties of soil in paddy fields and the yield of rice to different agronomic measures in order to investigate agronomic measures for improving the quality of soil and increasing the yield of rice. The results showed that the application of biochar significantly increased the permeability coefficient in soil, organic matter, the yield of rice, the number of grains per panicle, and the biomass by 224.66%, 22.42%, 9.46%, 23.90%, and 6.51%, compared with that of the control. Deep tillage had no significant effect on the physicochemical properties of soil in paddy fields and the yield of rice. Biochar combined with deep tillage significantly increased the permeability coefficient in soil and the yield of rice by 184.25% and 9.93%, respectively. Biochar and deep tillage plowing had a significant interactive effect on the number of grains per panicle. The yield of rice and the biomass were significantly positively correlated with the permeability coefficient in soil and organic matter. There was a significant positive correlation between the number of grains per panicle and the permeability coefficient in soil. It is indicated that the application of biochar is an effective measure to improve the quality of soil and increase the yield of rice. It can improve the permeability in soil, increase the content of organic matter and the number of rice grains per panicle, and ultimately increase the yield of rice.

      • 0+1
      • 1+1
      • 2+1
    • Effects of straw and rice bran on conversion of silicon in paddy soil and absorption of silicon by rice

      2025, 44(1):128-136. DOI: 10.13300/j.cnki.hnlkxb.2025.01.014

      Abstract (86) HTML (36) PDF 1.04 M (103) Comment (0) Favorites

      Abstract:Rice residues are rich in silicon, which is one of the main agricultural wastes, and its return to the field is considered to be a cost-effective silica supplementation measure. A pot experiment of rice for two seasons was conducted to promote the recycling of organic materials and improve the availability of silicon in paddy soil. 7 treatments including the control (CK), 0.5% straw (JG1), 1% straw (JG2), 1.5% straw (JG3), 0.5% rice bran (DK1), 1% rice bran (DK2), and 1.5% rice bran (DK3) were set up to study the effects of different dosages of two organic materials including rice straw and rice bran on the silicon morphology in soil, the absorption of silicon by rice, the aboveground accumulation of dry matter, and the fertility in soil. The results showed that 2 types of silicon abundant organic materials significantly increased the content of water-soluble silicon, available silicon, organic bound silicon, and amorphous silicon in soil, which was generally proportional to the dosage used, with a higher increase observed in the treatment with rice bran. Compared with CK, DK2 and DK2 significantly increased the content of water-soluble silicon in soil by 18.85%-46.58%, the content of available silicon by 11.51%-118.82%, the content of organic bound silicon by 21.88%-51.95%, the content of iron manganese oxide bound silicon by 3.38%-19.17%, and the content of amorphous silicon by 6.41%-22.14%, respectively. The two types of organic materials significantly increased the content of silicon and the accumulation of silicon in rice stems and leaves, and the application of rice bran had a more significant effect. Compared with CK, application of rice straw and rice bran increased the accumulation of silicon in stems and leaves by 0.60-2.51 times and 1.33-4.08 times, respectively. The two types of organic materials increased the accumulation of dry matter in the aboveground part of rice and the content of organic matter and available nitrogen, phosphorus, and potassium nutrients in soil to some degrees. It is indicated that both rice straw and rice bran can increase the fertility in soil, improve the silicon availability in soil, and promote the absorption of silicon by rice, among which the improvement of rice bran is greater, but rice straw is more suitable for application in practice.

      • 0+1
      • 1+1
      • 2+1
    • Effects of mineralization and deposition of nano silicon under low pH on aluminum tolerance in root tip and root border cells of pea

      2025, 44(1):137-147. DOI: 10.13300/j.cnki.hnlkxb.2025.01.015

      Abstract (77) HTML (70) PDF 3.18 M (99) Comment (0) Favorites

      Abstract:The mechanism of nano silicon physiologically regulating the alleviation of aluminum toxicity in the root tip and root edge cells of pea under low pH including pH 3.5, pH 4.5, and pH 5.5 was analyzed by PEI–induced silica electrostatic adsorption to form nano-silica shells for biomimetic mineralization to study the effects of the mineralization of nano silicon on the protective mechanism of the root tip and root border cells of pea under different pH and aluminum environments. The results showed that the treatment of Aluminum at various levels of pH decreased the activity of root border cells, while the treatment of silicon significantly increased the activity of cell in response to aluminum toxicity. The content of aluminum and ROS in silicon treated cells were lower than that in silicon deficient cells, and the mitochondrial membrane potential of the cells increased after the addition of silicon. Aluminum toxicity inhibited the elongation of root tip in peas. The effect of adding silicon to alleviate the root tip inhibition under pH 3.5 with the treatment of aluminum was not significant, but the elongation of root tip was significantly increased under pH 4.5 and pH 5.5. As the pH of aluminum treatment increased, the content of aluminum in root tips decreased, and the content of aluminum in root tips after the treatment of adding silicon was higher than that after the treatment of silicon deficiency. Silicon enabled more negatively charged functional groups on the cell wall to participate in the resistance to aluminum stress, reducing the absorption peak of various components of the cell wall including pectin, cellulose, hemicellulose, proteins, etc. Nano silica shells were formed on the cell surface under pH 4.5 and pH 5.5 of aluminum environment, and silicon aluminum deposited on the cell wall to form aluminosilicates. It is indicated that the mineralization and deposition of nano silicon on cells under low pH can alleviate the toxic effects of aluminum ions.

      • 0+1
      • 1+1
      • 2+1
      • 3+1
      • 4+1
      • 5+1
      • 6+1
      • 7+1
    • Effects of fertilization treatments on microbial community in dryland red soils revealed by experiments of long-term positioning-based metagenomics

      2025, 44(1):148-155. DOI: 10.13300/j.cnki.hnlkxb.2025.01.016

      Abstract (105) HTML (83) PDF 1.96 M (202) Comment (0) Favorites

      Abstract:Sequencing of the metagenome was used to comparatively analyze the composition and the diversity of microbial communities in soil under the four fertilizations including no fertilization (CK), nitrogen, phosphorus and potassium fertilizers (NPK), organic fertilizer (OM), and organic fertilizer mixed with nitrogen, phosphorus and potassium fertilizers (NPKOM) in experiments of long-term positioning to study the relationship between the microbial communities in dryland red soils and the systems of fertilization. The results showed that OM and NPKOM significantly increased the abundance of Actinobacteria and Proteobacteria compared to CK, but decreased the abundance of Chloroflexi. Fertilization significantly changed the structure of microbial community in soil, with OM reducing and NPKOM increasing the number of microorganisms in soil. The microbial community in soil was significantly correlated with pH and the content of total phosphorus (TP), soil organic matter (SOM), alkali-hydrolyzable nitrogen (AN), and available phosphorus (AP) at the level of phylum. pH was a key factor affecting the structure of microbial communities in soil. There were significant differences in metabolic functions of microorganisms under different fertilizations. It will provide a certain theoretical basis for the rational fertilization in dryland red soils in China.

      • 0+1
      • 1+1
      • 2+1
      • 3+1
      • 4+1
    • >Plant protection
    • Function and molecular mechanism of the CFEM protein in plant pathogenic fungi

      2025, 44(1):156-167. DOI: 10.13300/j.cnki.hnlkxb.2025.01.017

      Abstract (155) HTML (64) PDF 1.89 M (97) Comment (0) Favorites

      Abstract:The CFEM (common in fungi extracellular membrane) protein is an extracellular membrane protein that is unique to fungi and often founctions as an effector in various fungal species. This article elucidates the structure, origin, evolution, function, and molecular mechanisms of CFEM proteins across different pathogenic fungi. It highlights the critical roles of CFEM proteins in pathogenic fungi, including iron acquisition, maintenance of fungal cell wall integrity, influence on fungal growth and development, facilitation of infection structure formation, and elicitation of host immune responses. Additionally, a bioinformatic analysis of CFEM proteins in Penicillium expansum is presented. Future research directions on the roles and molecular mechanisms of CFEM proteins in fungal pathogenicity are also discussed. The aim is to enhance our understanding of the function and molecular mechanisms of CFEM proteins in fungal infection and pathogenesis, providing a theoretical foundation and reference for controlling plant fungal diseases.

      • 0+1
      • 1+1
      • 2+1
      • 3+1
      • 4+1
      • 5+1
    • Establishment of multiplex immunocapture PCR for detection of banana streak virus

      2025, 44(1):168-173. DOI: 10.13300/j.cnki.hnlkxb.2025.01.018

      Abstract (80) HTML (80) PDF 844.37 K (104) Comment (0) Favorites

      Abstract:To improve the diagnostic efficiency of banana streak virus (BSV) and promote the healthy development of the banana industry,a multiplex immunocapture PCR method was established for the simultaneous detection of BSOLV,BSGFV,and BSIMV by optimizing primer concentration,annealing temperature,and other parameters. The specific primers were designed based on the conserved sequences of the coat protein (CP) gene from the banana streak OL virus (BSOLV) and banana streak GF virus (BSGFV),and the RNase H gene of banana streak IM virus (BSIMV). The viruses captured by the BSV polyclonal antisera served as templates. The results indicated that the optimal multiplex immunocapture PCR used to detect BSOLV,BSGFV,and BSIMV was achieved with final concentration ratios of 0.5 μmol/L∶0.5 μmol/L∶0.5 μmol/L for the upstream and downstream primers of BSOLV,BSGFV,and BSIMV,respectively,with an annealing temperature of 63 °C. BSOLV,BSGFV,and BSIMV could be detected from a crude banana extract of 1 mg/mL by the multiplex immunocapture PCR method. There was no cross-reaction with the cucumber mosaic virus (CMV),which causes symptoms similar to those caused by BSV. Fifteen field samples were analyzed using the multiplex immunocapture PCR method. The results showed that the banana samples co-infected with BSV were distinguishable,and the amplification products of BSOLV,BSGFV,and BSIMV were confirmed through sequencing. The nucleotide sequence identities of BSOLV,BSGFV,and BSIMV exceeded 94% when compared with the corresponding nucleotide sequences of these BSVs available in GenBank. The study demonstrates that the multiplex immunocapture PCR method exhibits high sensitivity and specificity,enabling the detection of the three BSVs in banana seedlings and field samples.

      • 0+1
      • 1+1
      • 2+1
      • 3+1
      • 4+1
      • 5+1
    • >Animal science·Veterinary medicine
    • Detection of common viruses causing calf diarrhea and analysis of risk factors

      2025, 44(1):174-182. DOI: 10.13300/j.cnki.hnlkxb.2025.01.019

      Abstract (87) HTML (60) PDF 1.01 M (94) Comment (0) Favorites

      Abstract:To understand the current epidemiological status and dominant strains of calf diarrhea viruses is important for disease prevention and control.264 diarrheic calves samples (including 58 anal swabs,15 intestinal tissues,and 191 feces) from 41 farms in Hubei,Hunan,Henan,Guangxi,Guizhou,Gansu,Shandong,and Inner Mongolia were collected between November 2021 and October 2023.RT-PCR was used for the detection of bovine rotavirus (BRV),bovine coronavirus (BCoV) and bovine viral diarrhea virus (BVDV).Results showed that the individual positive proportion of BRV,BCoV and BVDV were 14.02% (95% CI: 8.44-16.68),10.23% (95% CI: 6.85-14.53) and 12.12% (95% CI: 10.06-18.80),respectively.The farm positive proportion was 78.05% (95% CI: 62.39-89.44),in which 29.27% (95% CI: 16.13-45.54) had mixed infections.3.42% (95% CI:1.32-5.88) samples were co-infected with both BRV and BCoV,which was the most commonly combination.Furtherly,the distribution of the above three viruses in different regions,ages,seasons and breeds was analyzed.There was a high risk of BRV infection in the northern China,winter and in calves ≤5 weeks old,and BCoV had a high risk of infection in northern China,and both summer and winter.There was no significantly difference BVDV infection in different regions,ages and breeds.The results indicate that the three viruses are prevalent in diarrheal calves across 41 farms in 11 provinces in China,with BRV and BCoV being the main viruses causing calf diarrhea.Their prevalence is influenced by region,season,and age,suggesting that these factors should be considered in prevention and control measures.

      • 0+1
    • Selection of differential methylation genes of longissimus dorsi muscle during different developmental stages in Huainan pig breed

      2025, 44(1):183-190. DOI: 10.13300/j.cnki.hnlkxb.2025.01.020

      Abstract (71) HTML (34) PDF 4.38 M (93) Comment (0) Favorites

      Abstract:To further enhance the growth rate and lean meat percentage traits in Huainan pigs through molecular breeding, we performed whole genome methylation sequencing and screened for candidate muscle-regulating genes with differential methylation levels through pathway enrichment analyses using the longissimus dorsi muscle of Huainan boars at 38, 58, and 78 days post coitus (dpc) and at 21 postnatal days. The results showed that the methylation level of mCpG in gene body regions was higher than that in the upstream 2 kb and downstream 2 kb regions of the gene, and the highest methylation levels were observed in introns, 3’UTRs and repeat sequences. During development, the methylation levels in the gene body regions decreased, while those in the upstream 2 kb and downstream 2 kb of the gene regions exhibited a trend of down-up-down. The methylation levels of introns, 3’UTRs and repeat sequences gradually decreased, while the methylation levels of promoter regions exhibited a pattern of down-up-down. Pathway enrichment analyses were conducted, revealing significant differences in CpG methylation of focal adhesion (P=0.000 9, P=0.000 4, P=0.000 1) and CHH methylation of adherents junctions (P=0.013 2, P=0.012 8, P=0.000 5) during the adjacent developmental stages of 38~58 dpc, 58~78 dpc, 78 dpc~21 d of Huainan pigs. Through bioinformatics analyses, ACTN4 and FGFR1 were identified as candidate genes involved in muscle development from these pathways. ACTN4 plays a role in regulating actin binding, and the methylation levels at different developmental stages were found to be 55.75%, 11.18%, 10.18%, and 59.75%. FGFR1 is associated with muscle cell differentiation, and the methylation levels were 0.81%, 0.78%, 7.52%, and 0.44% at different developmental stages. In conclusion, two differentially methylated genes can be selected as candidate genes affecting muscle development to facilitate molecular breeding of Huainan pigs.

      • 0+1
      • 1+1
      • 2+1
      • 3+1
      • 4+1
      • 5+1
      • 6+1
      • 7+1
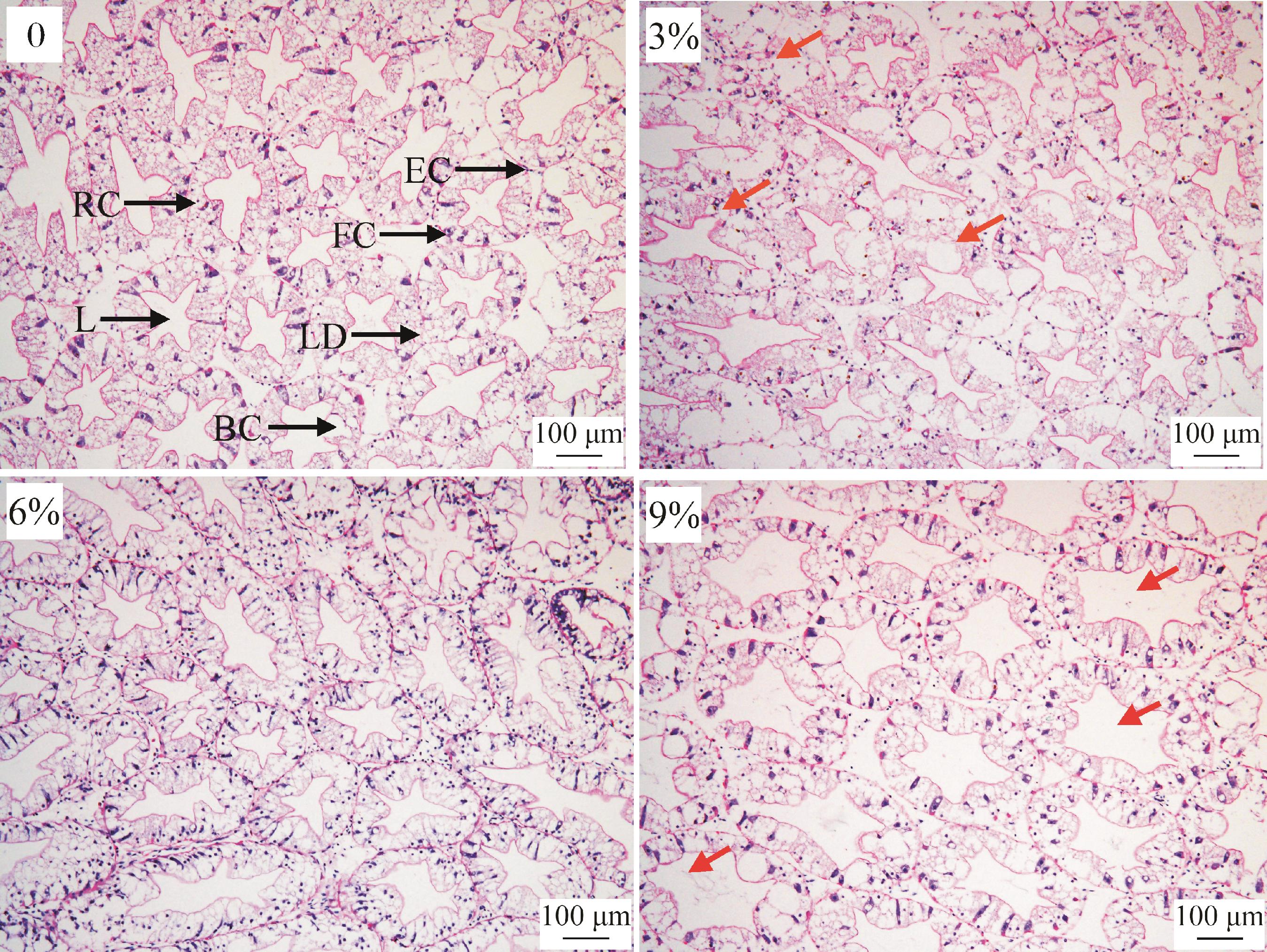
    • Effects of dietary fermentation products of table leftovers on growth,muscle quality,immune enzyme activity and digestive function for Procambarus clarkii

      2025, 44(1):191-200. DOI: 10.13300/j.cnki.hnlkxb.2025.01.021

      Abstract (55) HTML (81) PDF 2.01 M (171) Comment (0) Favorites

      Abstract:In order to comprehensively evaluate the applicability of fermentation products of table leftovers in the culture of crayfish,Procambarus clarkii,we added different proportions (0/control group,3%,6% and 9%) of these fermentation products into the basic diet of crayfish,and investigated the effects of these fermentation products on growth performance,muscle quality,immune enzyme activity and digestive functions of crayfish. The results showed that: (1) Feeding diets containing fermentation products of table leftovers for 30 d did not significant affect weight gain rate,hepatosomatic index,meat yield,or specific growth rate of crayfish (P>0.05),but significantly increased survival rate,total output and total weight gain rate,and significantly decreased feed conversion ratio (P<0.05). The total output and total weight gain rate of the group with a 6% addition were the highest,showing increases of 52.70% and 108.51%,respectively,compared with the control group. (2) Fermentation products of table leftovers had no significant effect on the crude protein content in the muscle of crayfish (P>0.05),but significantly increased muscle springiness (P<0.05). The crude fat content in the groups with 3% and 6% additions was significantly reduced by 12.61% and 13.77%,respectively,compared with the control group (P<0.05). The content of four main delicious amino acids in the muscle of the 9% addition group was significantly lower than that in both the control group and the 3% addition group (P<0.05). (3) At 30 d,the activities of serum alkaline phosphatase,acid phosphatase and lysozyme in the 6% addition group were significantly increased by 76.56%,65.28% and 172.42%,respectively,compared with the control group,and lysozyme activity in the 6% addition group was significantly higher than that in the 3% and 9% added groups (P<0.05). (4) At 30 d,the lipase activity in the hepatopancreas of the group with 3% addition was significantly higher than that in the other three groups,and the amylase activity in the groups that received fermentation products was significantly higher than that in the control group (P<0.05). Histological observations showed that the morphology of the hepatopancreas was better in the group with a 6% addition,which contained abundant R,E,and F cells. These results demonstrate that fermentation products of table leftovers can be used in the diet of crayfishwith an optional addition level of 6%. In this case,the survival rate of crayfish has increased,while the feed conversion ratio has decreased,resulting in improved total output and total weight gain rate. Additionally,the muscle quality,immunity,and digestive function have all shown overall improvement,leading to optional comprehensive benefits.

      • 0+1
      • 1+1
      • 2+1
    • Identification of myomaker gene in Megalobrama amblycephala and its role in muscle fiber development

      2025, 44(1):201-210. DOI: 10.13300/j.cnki.hnlkxb.2025.01.022

      Abstract (159) HTML (156) PDF 3.32 M (118) Comment (0) Favorites

      Abstract:To investigate the role of the myomaker gene in muscle hypertrophy in Megalobrama amblycephala, the cDNA sequence was identified using RT-PCR. The developmental characteristics of muscle fibers at various stages in M. amblycephala were analyzed through paraffin sections and HE staining. Additionally, the expression patterns of the myomaker gene at different developmental stages and in different tissues of M. amblycephala were examined using real-time PCR. The results showed that the length of the myomaker gene in M. amblycephala is 4 693 bp, containing 5 exons and 4 introns. The open reading frame of myomaker is 663 bp and encodes a protein of 220 amino acids with 7 transmembrane domains. An analysis of the amino acid sequences revealed that the myomaker protein sequences were highly conserved throughout evolution, and phylogenetic tree analysis demonstrated that the myomaker of M. amblycephala clustered with that of cyprinid fish, indicating a close evolutionary relationship. The results of paraffin sections showed that the diameter of muscle fibers was significantly increased from 30 d to 60 d (P<0.05), with the most rapid growth occurring between 40 d and 50 d. The real-time PCR results of muscle tissue at different developmental stages showed a gradual increase in expression from 15 to 30 days post hatching, peaking at 30 d (P<0.05). Combined with morphological data, these findings suggest that the myomaker gene plays an important role in muscle fiber fusion after 30 d, thereby promoting muscle fiber hypertrophy. Furthermore, the real-time PCR results indicated that the expression level of myomaker in the muscle tissue of one-month-old M. amblycephala was significantly higher than that in other tissues (P<0.000 1). These results demonstrate that the myomaker gene plays a significant regulatory role in the hypertrophy process of muscle fibers in M. amblycephala.

      • 0+1
      • 1+1
      • 2+1
      • 3+1
      • 4+1
      • 5+1
      • 6+1
      • 7+1
    • Mechanism of immunopotentiator CVC1302 regulating somatic hypermutation

      2025, 44(1):211-216. DOI: 10.13300/j.cnki.hnlkxb.2025.01.023

      Abstract (102) HTML (82) PDF 1.07 M (89) Comment (0) Favorites

      Abstract:ISA206 was used to obtain the vaccine by emulsifying 4-hydroxy-3-nitrophenylacetyl conjugated chicken egg white protein (NP-OVA) with immunopotentiator CVC1302 to study the immune mechanism of CVC1302 regulating the occurrence of somatic hypermutation in germinal center B (GC B) cells. Six-week-old BALB/c female mice were divided into 2 groups and immunized with NP-CVC1302-ISA206, NP-ISA206 in the hind leg muscles, with each mouse receiving 100 μL vaccine and 50 μg NP-OVA. Germinal center B cells were obtained with flow cytometry after14 days of immunization, and the variable region VH186.2 gene sequence of immunoglobulin in GC B cells was amplified with nested-PCR. Western blot was used to detect the expression level of cytidine deaminase (AID) and Pax5 induced activation, and the differences in the expression level of AID and Pax5 between groups were compared with β-actin as an internal reference. The transcription level of AID and Pax5 in GC B cells was analyzed with fluorescence quantitative PCR. The results showed that immunopotentiator CVC1302 significantly induced the mutation frequency of VH186.2 in the immunoglobulin sequence of germinal center B cells, with a W33L mutation frequency of 62.2% in the NP-CVC1302 immunized group and only 20.25% in the NP immunized group. CVC1302 increased the expression level of AID protein and Pax5 protein in GC B cells. The relative expression level of AID protein in the NP-CVC1302 immunized group was 0.72, while that in the NP immunized group was only 0.16. The relative expression level of Pax5 protein in the NP-CVC1302 immunized group was 0.62, while that in the NP immunized group was only 0.26. CVC1302 enhanced the transcription level of AID gene and Pax5 gene in the NP-CVC1302 immunized group, which was increased by 2.36 and 4.13 times compared to that in the NP immunized group. It is indicated that CVC1302 relies on Pax5 mediated AID expression to regulate the occurrence of somatic hypermutation in germinal center B cells.

      • 0+1
      • 1+1
      • 2+1
      • 3+1
      • 4+1
    • Evaluating oral immunization of inactivated PEDV vaccine modified with chitosan-catechol

      2025, 44(1):217-224. DOI: 10.13300/j.cnki.hnlkxb.2025.01.024

      Abstract (122) HTML (47) PDF 1.65 M (99) Comment (0) Favorites

      Abstract:Inactivated PEDV (0.5 mg/mL) encapsulated with different concentrations of chitosan-catechol(Chic) including 0.2 mg/mL and 0.4 mg/mL named as C1+P and C2+P was prepared by controlling the amount of Chic, and a mouse model was established for immunization testing to evaluate the oral immunization efficacy of inactivated porcine epidemic diarrhea virus (PEDV) vaccine modified with Chic. Indirect enzyme-linked immunosorbent assay (ELISA) was used to detect the levels of sIgA in mouse mucosa and IgG, IgG1, IgG2a antibodies in serum. Flow cytometry and CCK-8 assay were used to detect the phenotyping and proliferation activation of spleen cells. The results showed that the immune response induced by the C2+P group was comparable to that of the expensive cholera toxin B subunit (CTB) adjuvant group after two oral immunizations. Compared with the PEDV group without Chic modification, the antibody titer of nasal,lung,and small intestine mucosa-specific sIgA in the C1+P group and C2+P group was increased by 6.09, 6.37 times, and 5.35, 5.65 times, and 5.64, 5.89 times, respectively. The serum specific IgG, IgG1, and IgG2a in the C1+P group and C2+P group increased by 8.83, 9.65 times, 13.54, 15.07 times, and 4.27, 5.07 times, respectively. The proportion of CD4+ T lymphocytes and CD8+ T lymphocytes in the C1+P group and C2+P group increased by 1.15, 1.17 times and 1.11,1.11 times, respectively. The proliferation and activation of spleen cells significantly increased as well (P<0.05). It is indicated that oral immunization with C1+P and C2+P successfully induced mucosal and systemic immune responses in mice, demonstrating the potential of Chic as a mucosal immune adjuvant and the feasibility of inactivated PEDV vaccines modified with Chic in effectively inducing immune responses.

      • 0+1
      • 1+1
      • 2+1
      • 3+1
      • 4+1
    • >Food science and agricultural engineering
    • Progress on technology and equipment of precision and direct seeding for vegetable seeds

      2025, 44(1):225-238. DOI: 10.13300/j.cnki.hnlkxb.2025.01.025

      Abstract (86) HTML (403) PDF 1.31 M (112) Comment (0) Favorites

      Abstract:This article briefly reviewed the progress on the technology and equipment of precision and direct seeding for vegetables at home and abroad. The overview of vegetable production and major seeding equipment worldwide was analyzed. The key technical equipment and the dynamics of intelligent mechanized direct seeding of vegetables including the precision and variable seed metering, seedbed formation, seed furrow shaping, and control detection were emphasized. The focus and difficulties of studying the mechanized direct seeding of vegetables were clarified. The optimized methods for designing the seed metering system and the forming system of seedbed for the mechanized direct seeding of vegetables were summarized. The foundation and core of mechanized precision and direct seeding of vegetables was highlighted. The key factors affecting the accuracy of seeding were identified from the perspective of key technologies for precision and direct seeding of vegetables and the implementation methods of precision and direct seeding technology for vegetable seeds were elucidated. The difficulties in precision seeding technology for vegetables at the current stage were pointed out, and the focus was proposed to break through the methods of precision and variable seeding, high-speed and efficient seeding in sowing technology based on a systematic summary and analysis of the characteristics of vegetable planting in China and the development trend of technology and equipment for precision and direct seeding. The trend of developing precision and direct seeding technology for vegetables was prospected by analyzing the current development status of precision seeders at home and abroad. It will provide a reference for the theoretical studies and the development of precision seeders for vegetables in China, which is of significant importance for the advancement of high-speed precision seeding technology in China.

      • 0+1
      • 1+1
      • 2+1
      • 3+1
      • 4+1
    • Research progress of edible antimicrobial cling film and its application in preservation of aquatic product

      2025, 44(1):239-245. DOI: 10.13300/j.cnki.hnlkxb.2025.01.026

      Abstract (108) HTML (78) PDF 663.49 K (85) Comment (0) Favorites

      Abstract:Edible cling film is widely used due to the safety of raw material source and its degradability. The edible antibacterial cling film added with active antibacterial ingredients can effectively alleviate the moisture loss and oxidative deterioration of the product,and has a good inhibition effect on harmful microorganisms. Aquatic products occupy an important position in the food consumption of Chinese residents,but efficient preservation after fishing is the primary factor affecting its food safety. In order to promote the application of edible antibacterial cling film in food preservation and provide new ideas and theoretical basis for aquatic product preservation,in this paper,the antibacterial mechanism of edible antibacterial cling film was introduced from three aspects of film-forming matrix,antibacterial activity of ingredients and physical barrier. Two kinds of film-forming technology,wet film-making and dry film-making,and the application research and market status of edible antibacterial cling film in aquatic product preservation were reviewed. It is pointed out that edible antibacterial cling film,as an environment-friendly packaging material,has great potential for commercial application,but there are still many challenges to realize its large-scale application.

      • 0+1
      • 1+1
    • Dynamic changes in non-structural sugars and plastid pigments during yellowing stage of cigar tobacco leaves under different air-curing humidities

      2025, 44(1):246-254. DOI: 10.13300/j.cnki.hnlkxb.2025.01.027

      Abstract (87) HTML (72) PDF 2.72 M (110) Comment (0) Favorites

      Abstract:In order to improve the air-curing quality of tobacco leaves,Yunxue No.2 was used to study the changes and correlation between non-structural sugars and plastid pigments during the yellowing stage of cigar tobacco leaves under different air-curing humidities.The changes in the intrinsic chemical composition of cigar tobacco leaves during the yellowing stage under conditions of an ambient temperature of 28℃ and ambient humidity of 90% (high humidity), 80% (medium humidity), and 70% (low humidity).The results showed that the content of plastid pigments and starch in tobacco leaves had an overall decreasing trend, while the content of glucose, fructose, and sucrose had an overall increasing trend Under different air-curing humidities.The degradation rate of the content of chlorophyll in tobacco leaves treated with high humidity (yellowing humidity of 90%) was slow, but the cycle of degradation was long, while the content of chlorophyll in tobacco leaves treated with high and medium humidity after 96 hours of yellowing tended to a lower level, and the change was not significant.Low humidity (yellowing humidity of 70%) treatment significantly increased the accumulation in the content of glucose and fructose at the early stage of yellowing, and the increase was relatively small after 144 hours of yellowing.The trend of changes in the content of glucose and fructose treated with medium and high humidity was opposite to that with low humidity, with no significant increase at the early stage of yellowing, but a significant increase after 144 hours of yellowing.The trend of changes in the content of starch and sucrose under different treatments was almost the same.The results of correlation analyses showed that the changes in the content of plastid pigments and non-structural carbohydrate during the air-curing process reached significant or extremely significant levels.It is indicated that the rate of yellowing in tobacco leaves under the low humidity (yellowing humidity of 70%) was relatively fast, and the conversion of non-structural sugars was rapid, resulting in the early yellowing of tobacco leaves.Tobacco leaves under the high humidity (yellowing humidity of 90%) had relatively small changes in various indexes at the early stage of yellowing, but the conversion rate of non-structural sugars after 144 hours was faster, which prolonged the yellowing period to some extent.The degree of degradation and transformation of plastid pigments and non-structural sugars in tobacco leaves under the moderate humidity (yellowing humidity of 80%) was between that under the low humidity and the high humidity.The above results show that the high humidity air-curing provides a more suitable environment and time conditions for the yellowing of tobacco leaves, and promotes the transformation of the substances contained in tobacco leaves.Therefore, in the actual production, providing a high humidity air-curing environment for tobacco leaves during the yellowing period is more conducive to the formation of high-quality tobacco leaves.

      • 0+1
      • 1+1
      • 2+1
      • 3+1
      • 4+1
      • 5+1
      • 6+1
    • Effect of frying pretreatment on quality of fish head pot

      2025, 44(1):255-264. DOI: 10.13300/j.cnki.hnlkxb.2025.01.028

      Abstract (89) HTML (75) PDF 1.96 M (91) Comment (0) Favorites

      Abstract:Using conditioned silver carp fish heads as raw materials, the color, protein solubility, malondialdehyde content, essential nutritional components, and other indicators of the fried fish head and fish head pot were measured to streamline the production process and enhance the nutritional and flavor quality of the dish.The best pre-frying conditions were selected using sensory analysis, and the impact of frying pretreatment on the fish head pot’s quality was investigated.The results showed that the color and protein solubility of fish head first increased and then decreased with the increase of frying temperature, while the malondialdehyde content was the opposite.The nutrient content of fish head pot increases with the increase of frying temperature.Fish head pot fried at medium and high temperature (180 ℃, 200 ℃) exhibited higher dissolution of protein, fat and other nutrients than those subject to low temperature frying (160 ℃), while fish head pot fried at high temperature (200 ℃) exhibited lower color and taste sensory quality than those subject to medium temperature frying (180 ℃).With the extension of frying time, the contents of protein, fat and solid in fish head pot increased gradually, and the total free amino group content first increased and then decreased, while the taste profile and sensory quality first increased and then there was no significant difference.When frying for 120 s, the fish head pot had more protein dissolved and lower fat content, and its color, taste and sensory quality were also the best.In conclusion, pre-frying at 180 ℃ for 120 s was the optimum condition for fish head pot.

      • 0+1
      • 1+1
      • 2+1
      • 3+1
      • 4+1
      • 5+1
    • Discrete element simulation and optimization of seed crushing in shredding and throwing device for rapeseed combined harvester

      2025, 44(1):265-275. DOI: 10.13300/j.cnki.hnlkxb.2025.01.029

      Abstract (70) HTML (80) PDF 1.38 M (97) Comment (0) Favorites

      Abstract:The discrete element simulation of seed crushing in the rapeseed combined harvester and optimization of shredding and throwing device were conducted to solve the problems of increased operational losses caused by the breakage of rapeseed seeds during the shredding and throwing process of the self-developed rapeseed combined harvester. A rapeseed seed bonding model was constructed based on discrete element method and uniaxial compression tests were carried out. The optimal combination of parameters for rapeseed seed bonding model was calibrated through the steepest climbing experiment and Box-Behnken experiment. A simulation model of the shredding and throwing device for the rapeseed combined harvester was established based on the rapeseed seed bonding model. Box-Behnken experiment with three-factor and three-level was conducted with the rotating speed of the drum, the shredding clearance and the number of cutters as experimental factors to determine the optimal combination of parameters for the shredding and throwing device. Bench experiment and field experiment of the rapeseed shredding and throwing device were performed as well. The results showed that the simulated value of rapeseed seed crushing load was 12.67 N, and the relative error with the physical value was 3.59% when the normal stiffness coefficient, tangential stiffness coefficient, critical normal stress, and critical tangential stress was 7.0×109 N/m, 6.82×109 N/m, 6.61×1010 Pa, 8.18×1010 Pa, respectively. The optimal combination of parameters for the shredding and throwing device was a rotating speed of the drum of 450 r/min, a shredding clearance of 30 mm, and 10 cutters. The crushing rate of rapeseed seeds in the shredding and throwing device showed a trend of linear increase with the increase of the rotation speed of the shredding drum. The average crushing rate of rapeseed seeds in the shredding and throwing device for the rapeseed combined harvester was 0.82%, and the operation of the shredding and throwing device was smooth. It will provide a reference for the improvement and optimization of the structure of the shredding and throwing device for the rapeseed combined harvester.

      • 0+1
      • 1+1
      • 2+1
      • 3+1
      • 4+1
      • 5+1
      • 6+1
      • 7+1
      • 8+1
      • 9+1
      • 10+1
      • 11+1
      • 12+1
      • 13+1
      • 14+1
      • 15+1
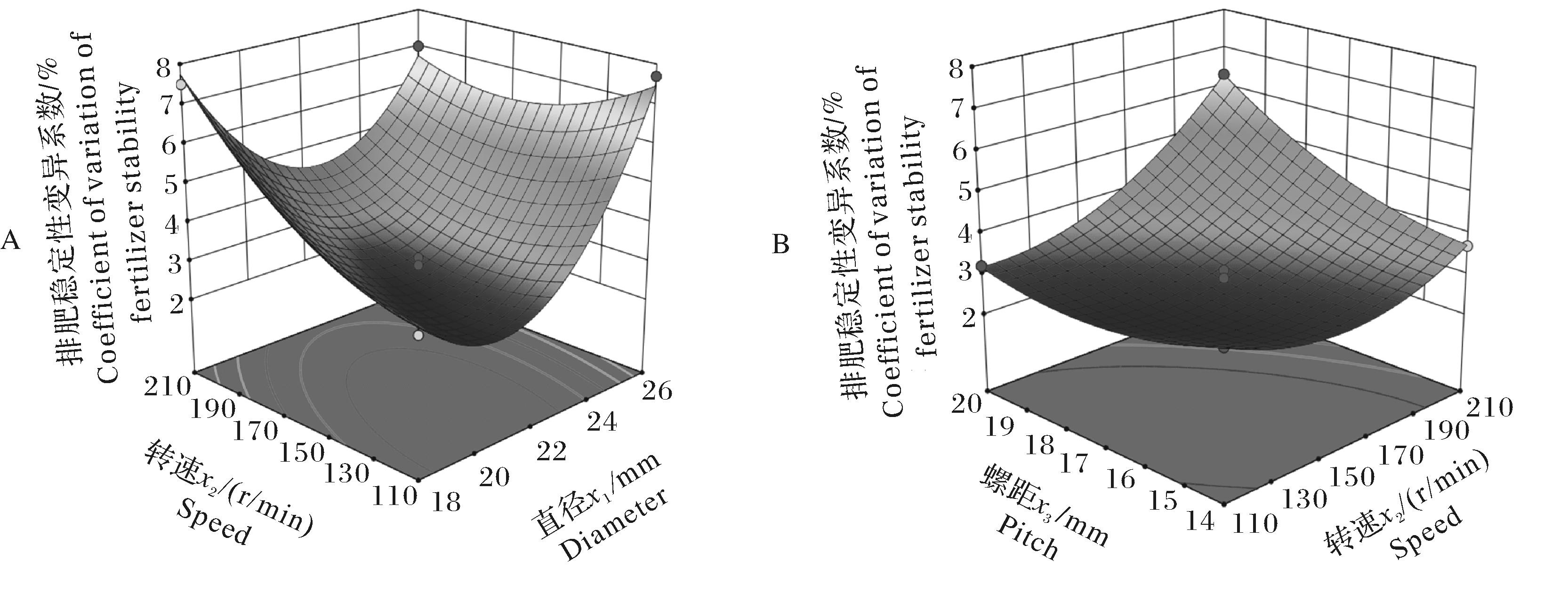
    • Design and experiment of wind-delivered rice side-deep fertilization device

      2025, 44(1):276-287. DOI: 10.13300/j.cnki.hnlkxb.2025.01.030

      Abstract (64) HTML (93) PDF 1.76 M (117) Comment (0) Favorites

      Abstract:A wind-delivered rice side-deep fertilization device was designed by integrating the advantages of a double-gear fertilizer feeder and a spiral fertilizer feeder to solve the problems of poor performance of fertilizer discharge caused by the clogging of fertilizer outlets at the end of fertilizer feeder in paddy field environments. The fertilization device for rice was overall designed and the parameters of the fertilization device were determined through theoretical calculations. Discrete element simulation analyses of key components were conducted with EDEM software based on the experimental results of material characteristic parameters. Experiments of single factor and Box Behnken response surface were performed to determine the optimal parameters using the coefficient of variation of fertilizer stability as the evaluation index, the diameter, pitch, and speed of the spiral axis as experimental factors. The optimal transmission ratio of the two-stage fertilizer feeder was determined by comparing its impact on the quality of fertilizer discharge. The effectiveness of the design was validated through comparative analysis of prototype tests between the two-stage fertilizer feeder and the single-stage spiral fertilizer feeder. The results showed that the optimal combination of parameter for the spiral axis was a diameter of 21 mm, a rotation speed of 140 r/min, and a pitch of 17 mm, with the coefficient of variation for discharge stability of fertilizer of 2.5%. The fertilizer was discharged continuously and evenly when the transmission ratio of the double-gear fertilizer feeder and the spiral fertilizer feeder was 1∶4. The results of testing the prototype showed that the coefficient of variation of the consistency, stability, and uniformity of the two-stage fertilizer feeder was improved compared to that of the spiral fertilizer feeder. It will provide a theoretical foundation and reference for the technology and equipment of rice side-deep fertilization, and valuable insights for the future studies in this field.

      • 0+1
      • 1+1
      • 2+1
      • 3+1
      • 4+1
      • 5+1
      • 6+1
      • 7+1
      • 8+1
      • 9+1
      • 10+1
      • 11+1
      • 12+1
      • 13+1
    • Simulation optimization and experiment of seed sowing process using air-suction micro potato seeder based on NSGA-Ⅱ and AHP

      2025, 44(1):288-298. DOI: 10.13300/j.cnki.hnlkxb.2025.01.031

      Abstract (72) HTML (55) PDF 1.17 M (100) Comment (0) Favorites

      Abstract:A ring groove-type disk of seeder was designed based on the radius of curvature of the micro potato seeds to solve the problems of the operation of existing air-suction micro potato seeder requiring high negative pressure, high power consumption and serious leakage. The effective contact area of the micro potato seed adhering to the disk was increased to improve the qualification index of the air-suction micro potato seeder. A coupled simulation model of an air-suction micro potato seeder was constructed with EDEM and Fluent software. A quadratic regression orthogonal rotation combination experiment was designed with operating parameters including the vacuum degree, rotation speed of seeder disk and structural parameters including the diameter of suction hole, number of suction holes of the seeder as influencing factors, and the qualification index, leakage index, reseeding index, and power consumption as indexes of performance. The result set of the impact of various influencing factors on the indexes of performance of the seeder was obtained through coupling simulation. The non-dominated sorting algorithm (NSGA-Ⅱ) for multi-objective optimization of the result set was used to obtain optimal solution set of Pareto. The optimal structure parameters and operating parameters of seeder were obtained after assigning weights to the optimal solution set using analytic hierarchy process (AHP). The results showed that the optimal parameters were negative pressure value of -5 060 Pa, rotation speed of seeder disk of 35 r/min, number of suction holes of 10, and diameter of suction hole of 10 mm, with the qualification index of the seeder of 94.18%, the leakage index of 3.14%, the reseeding index of 2.68%, and the power consumption of 11.2 kW. The results of bench test showed that the simulation results optimized were basically consistent with the bench test, with a relative error of 0.97%. It is indicated that the combination of multi-objective optimization algorithm and hierarchical analysis process for weight allocation is reasonable and feasible for the performance optimization of air-suction micro potato seeder..

      • 0+1
      • 1+1
      • 2+1
      • 3+1
      • 4+1
      • 5+1
      • 6+1
      • 7+1
      • 8+1
      • 9+1
      • 10+1

Current Issue


Volume , No.

Table of Contents

Archive

Volume

Issue

Most Read

Most Cited

Most Downloaded